Ta strona wykorzystuje pliki cookies

Ta strona wykorzystuje pliki cookies, które wspierają jej funkcjonalność oraz służą do monitorowania sposobu, w jaki korzystasz z naszej witryny internetowej. Aby zapewnić Ci najlepsze doświadczenie użytkownika, prosimy o włączenie określonych plików cookie w ustawieniach i kliknięcie "Akceptuj"

Niezbędne
Funkcjonalne
Statystyczne
Marketing

Pliki cookie to małe pliki tekstowe przechowywane na Twoim komputerze przez strony internetowe, które przeglądasz. Strony internetowe korzystają z plików cookie w celu ułatwienia użytkownikom sprawnej nawigacji i wykonywania określonych funkcji. Pliki cookie, które są niezbędne do prawidłowego funkcjonowania strony internetowej, nie wymagają Twojej zgody. Wszystkie inne pliki cookie wymagają zgody przed ustawieniem ich obsługi w przeglądarce. Możesz w każdej chwili zmienić decyzję na temat korzystania z plików cookie na naszej stronie dotyczącej polityki prywatności.

Wybierz markę
Skorzystaj z naszej wyszukiwarki oryginalnych części Yamaha, w kilka minut odnajdziesz potrzebne części i ceny, spróbuj i przekonaj się sam.

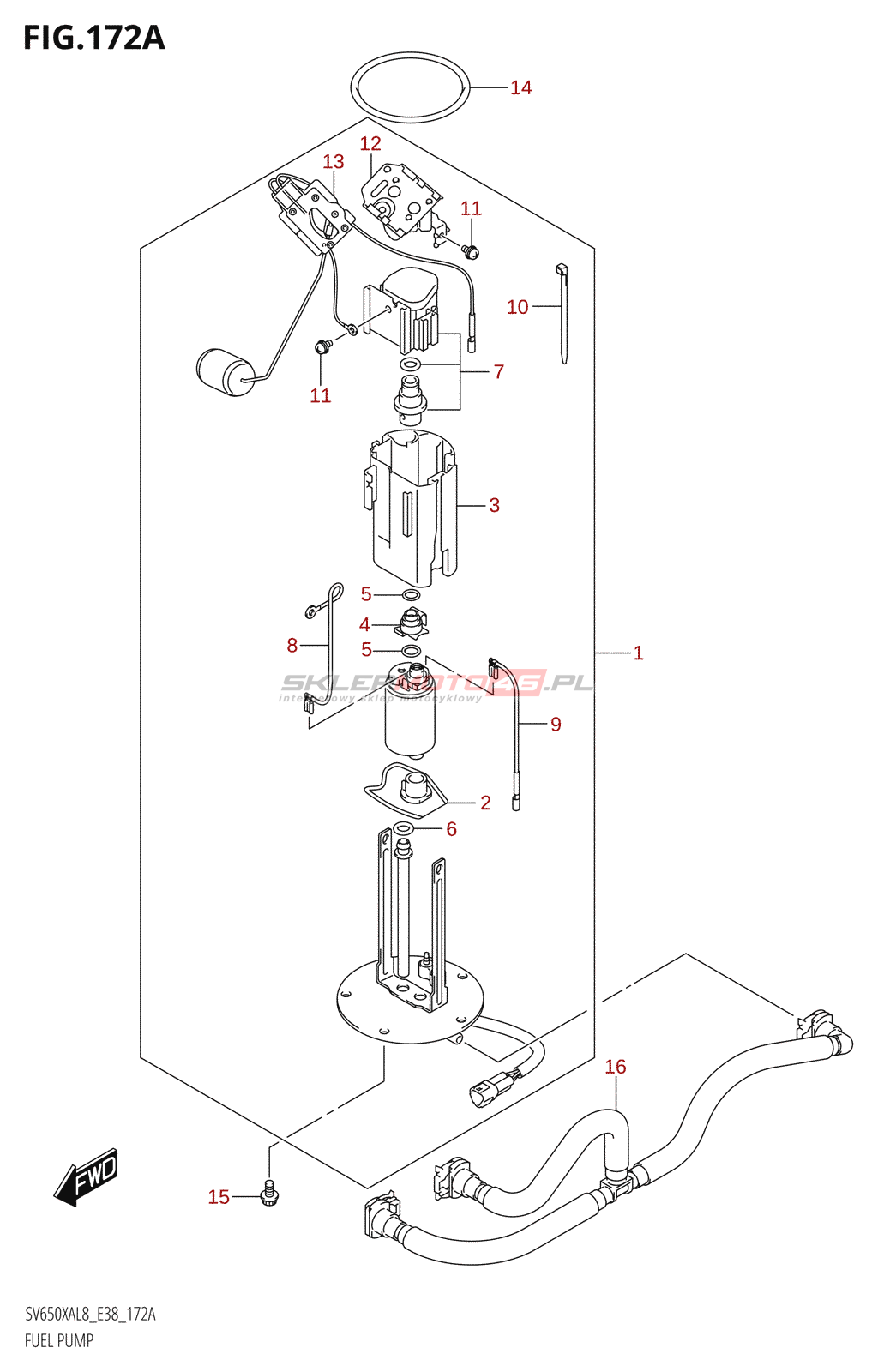
Wyszukiwarka części Suzuki SV650XA 2018 L8 (E38) 10 - Engine

Wszystkie części widoczne na fiszkach to oryginalne części OEM Suzuki.
Możesz złożyć zamówienie telefonicznie, dzwoniąc pod numer +48 512-024-444, lub poprzez nasz sklep internetowy.
Dostępność wybranych części zostanie automatycznie sprawdzona po dodaniu ich do koszyka.
Lp.

Nazwa i numer części

Cena za szt.

1  .

PUMP ASSY, FUEL 15100-18K00

2298.49 PLN

Sugerowana ilość:
2  .

.STRAINER,FUEL PUMP 15420-31J00

160.74 PLN

Sugerowana ilość:
3  .

.CUP,RESERVOIR 15111-27G00

137.55 PLN

Sugerowana ilość:
4  .

.JOINT 15112-05H00

92.26 PLN

Sugerowana ilość:
5  .

.O-RING 15113-05H00

80.49 PLN

Sugerowana ilość:
6  .

.O-RING 15113-35F00

39.52 PLN

Sugerowana ilość:
7  .

.REGULATOR,FUEL 15610-14J00

558.01 PLN

Sugerowana ilość:
8  .

.WIRE,EARTH 15114-14J00

78.61 PLN

Sugerowana ilość:
9  .

.WIRE,LEAD 15115-08J00

89.72 PLN

Sugerowana ilość:
10  .

.BINDEER 15151-31J00

30.29 PLN

Sugerowana ilość:
11  .

.SCREW 15116-10F00

23.62 PLN

Sugerowana ilość:
12  .

.BRACKET,FUEL GAUGE 15181-18K00

558.99 PLN

Sugerowana ilość:
13  .

.GAUGE,FUEL LEVEL SENDER 34810-18K00

543.70 PLN

Sugerowana ilość:
14  .

O RING,FUEL PUMP 15201-35F00

85.89 PLN

Sugerowana ilość:
15  .

BOLT 07120-0612B-000

14.33 PLN

Sugerowana ilość:
16  .

HOSE,FUEL 15810-18K00

455.01 PLN

Sugerowana ilość:

172A - FUEL PUMP

Masz pytania

Przejdź do kontaktu lub zobacz odpowiedzi na najczęściej zadawane pytania.

Kontakt

Skontaktuj się z nami

FAQ

Najczęściej zadawane pytania

Odpowiedzią na potrzeby zdrowotne pracowników Moto46 sp.z o.o. jest udział Spółki w projekcie RPZP.06.08.00: Wdrożenie kompleksowych programów zdrowotnych zapobiegającym istotnym problemom zdrowotnym regionu oraz dotyczących chorób negatywnie wpływających na rynek pracy, ułatwiających powroty do pracy, umożliwiających wydłużenie aktywności zawodowej oraz zwiększenie zgłaszalności na badania profilaktyczne.

Celem projektu jest wdrożenie programu eliminowania zdrowotnych czynników ryzyka w miejscu pracy, poprzez dostosowanie stanowisk pracy w bardziej ergonomiczny sprzęt.

Modernizacja i dostosowanie stanowisk pracy pozwolą na zredukowanie czynników mogących powodować u pracowników dolegliwości zdrowotne związane z układem kostno-mięśniowym, oddechowym, nerwowym, krwionośnym oraz z narządem wzroku.

Całkowita wartość projektu: 234 151,75 PLN

Dofinansowanie projektu z UE: 199 028,98 PLN

Ładujemy nową stronę